合作共赢
gaobei2023【微信】(合作)

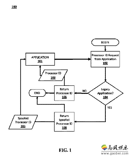
日本专利局最近通过了一份由索尼申请的新专利,根据官方公开的文件,索尼的新专利可能暗示了PS5会支持向下兼容。

这项专利允许设备CPU检测它正在读取的软件是为当前还是过去的硬件所设计的,如果检测的结果是后者,该设备就会模拟旧硬件的CPU,这样软件就可以顺利运行了。此专利的内容听起来确实很像一台新主机在模拟旧主机的硬件环境,从而实现向下兼容前代主机游戏的功能。
值得一提的是,该专利的发明者是Mark Cerny,他是PS4的主要设计师之一,因此也很有可能参与设计PS5,但索尼目前并未公开任何信息。另外专利页面还显示索尼于2017年1月20日提交了申请,如果真的与PS5有关,只能说索尼在向下兼容这件事上布局已久。

| 文章来源[含泪感激]:游民星空 |