合作共赢
gaobei2023【微信】(合作)

苹果公司希望进一步探索增强现实应用,他们最近提交了一份最新的专利申请,其中现实该公司正在尝试挖掘全虚拟现实套件的潜力。不仅如此,苹果公司的这项专利显然不是针对产品测试,而是面向消费者的。

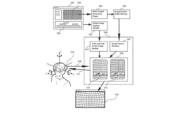
苹果公司公开了一份此前提交的专利申请(专利号为:15/485,804),可以允许用户对虚拟现实图像进行实时动态修改、展示、以及调整相关基于本文的数据。该专利是用于静态和运动图像,不仅支持在有限的视野范围内应用,而且还能包含X、Y和Z轴的视觉全景。
在这份专利中,苹果公司还简要介绍了解决虚拟现实头显设备输入延迟的问题。用户在佩戴虚拟现实头显设备的时候,当看到移动和图像移动延迟时,可能会产生眩晕感,所以苹果公司希望将延迟时间减少到最低限度。
现阶段,在这项专利申请中还没有提到太多实际的技术细节,当然大多数专利都是如此。不过苹果公司的专利提到了DirectX 11控制器,并且表示该专利执行需要依赖OpenGL和Metal,而且都需要使用SpriteKit,Core Animation,以及Core Graphics。

在本次专利申请中,除了提到Metal和特定程序之外,苹果公司并没有立即表明自己的专利和Facebook的Oculus、及其他公司的同类产品之间有何具体区别。另外,该申请也完全没有提到ARKit。这不是苹果公司第一次进军虚拟现实领域,此前在他们推出eGPU支持的新一代操作系统High Sierra时,就曾推荐开发人员专注于虚拟现实。