合作共赢
gaobei2023【微信】(合作)

摩托罗拉的Moto Z Force系列手机的一大亮点是采用ShatterShield防碎屏,该屏幕的材质并非传统的玻璃,而是塑料聚合物,但这也让其很容易刮伤。
但是Moto可能正在进一步将技术进行改进,最近摩托罗拉的专利已被曝光,专利展示了一种新的“智能玻璃”技术,这种玻璃可进行自我修复。
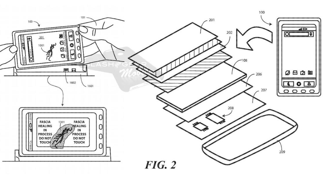
专利涉及一种“记忆”玻璃状聚合物,可能是一种塑料,可以“记住”其形状并且能够在满足条件的情况下自行修复。在软件方面,手机会检测到屏幕上是否有裂纹,并会在启动修复前进行提示。
一旦用户同意,就需要将手机放在一边,并且不能使用。显示驱动程序后面的一组硬件将开始加热屏幕,温度升高后,“智能玻璃”分子将摆动,试图恢复原来的形状。摩托罗拉称,完美的修复可能是没法实现的,但该过程将“扭转一些变形”。



(相关报道:摩托罗拉设计了一款屏幕有“自我修复”能力的手机)
摩托罗拉推出坚固手机也有不少经验,但那些大多都跟其他厂商一样只针对手机外壳的防护。不过摩托罗拉最新申请的专利却显示他们有连屏幕都一并考虑的想法。专利文字描述这款手机的屏幕是用上形状记忆聚合物能做的,受损后可通过加热而回复原状。摩托罗拉更表示手机会有专属的「修复」APP 预载,不过相信也能通过体温、底座配件等的方法也是有可能的。
利用自我修复的材料做成的手机配件其实早有在市场上出现,但要是手机本身就已经有这款的能力,那就更能减少手机要送修的机会。不过还是要说的是,申请设计专利文件并不代表摩托罗拉一定会推出这款产品。毕竟他们还是要考虑到聚合物做成的屏幕会不会影响使用体验,或是其他的技术困难。不管怎样说,相信不少经常手滑的朋友都已经暗自期待了吧。