合作共赢
gaobei2023【微信】(合作)

有人把任天堂告了,起诉任天堂Switch侵犯了他们的专利。目前关于诉讼的具体细节,还尚不清楚。

Gamevice是一家为安卓和iOS等智能手机生产游戏外设产品的公司,根据外媒patentarcade的报道,Gamevice在8月9日向加州中区法院提起诉讼,起诉任天堂Switch侵犯了该公司的专利(专利号US9126119B2)。

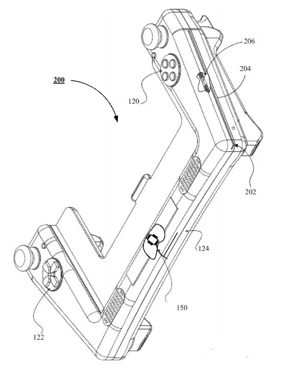
专利描述中的示意图之一
该专利涉及的相关产品是Gamevice数年前推出的一款安卓游戏平板Wikipad,涉及的专利包括两侧的手柄和可拆卸的结构等。
Wikipad


